UltraLite Patents & Intellectual Property

Innovation Protected by Law
The UltraLite was created to solve real problems for creators.
To protect the originality of this design and the work that went into it, QUOS Light LLC maintains active U.S. intellectual property protection covering both the appearance and the functional aspects of the UltraLite.
This page lists the patents associated with the UltraLite and serves as official notice to the public.


Granted U.S. Design Patent
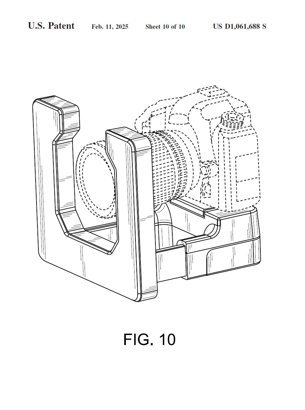
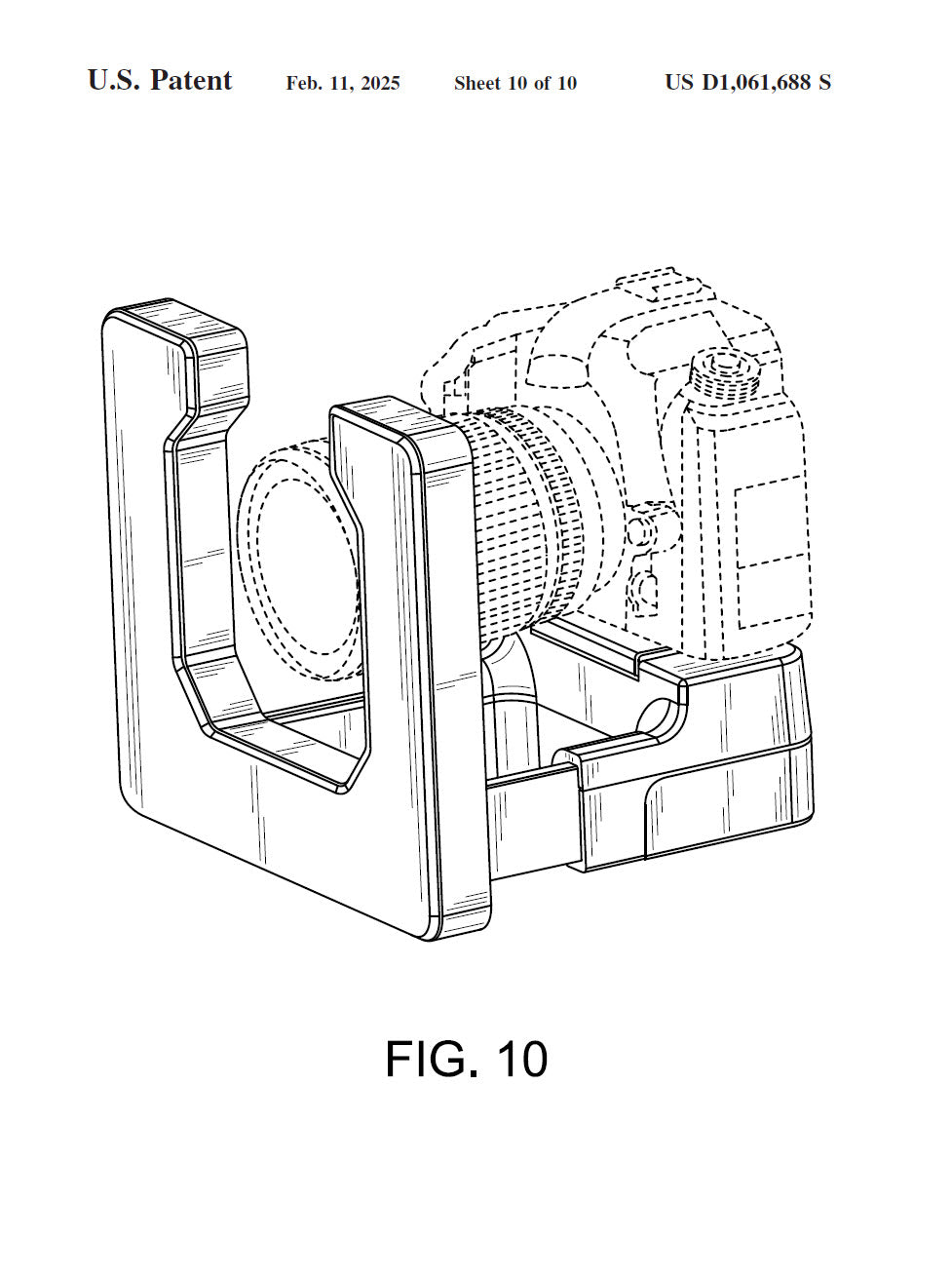
Patent No.: D1,061,688Title:Lighting Device
Issued: February 11, 2025
Assignee: McClure Life, LLC (Justin McClure)
This design patent protects the UltraLite’s distinctive U-shaped form and its ornamental features. It grants the exclusive right to prevent others from making, using, selling, or importing products that imitate the patented design.

U-Shape = space for mic

Engineered For Creators
Use this text to share information about your brand with your customers. Describe a product, share announcements, or welcome customers to your store.

Protected & Original
Use this text to share information about your brand with your customers. Describe a product, share announcements, or welcome customers to your store.

U.S. Utility Patent — Pending
Application No.: 18/632,435
Title:Light Assembly and Method of Illuminating a Scene
Filed: April 11, 2024
A non-provisional U.S. utility patent application has been filed and accepted by the USPTO. This protects the functional and structural innovations of the UltraLite. The application is currently in the examination process and is legally recognized as patent pending.
Intellectual Property Notice
QUOS Light LLC actively enforces its intellectual property rights.
Any unauthorized reproduction, manufacture, distribution, or sale of products that copy or imitate our patented design - or any design or function under active patent protection - will result in legal action. This includes infringement actions, DMCA takedowns, marketplace removal, and pursuit of damages to the fullest extent permitted under U.S. law.
Proper patent notice is required to protect against infringers, and our patents are marked in accordance with U.S. Patent Law §287.
The UltraLite isn’t just another light. Its shape, function, and portability were intentionally engineered to solve problems real creators face:
Versatility
A light that works with phones or cameras
U-Shape
A design that leaves the hot shoe free for microphones
Portability
A portable design that goes anywhere creators go

UltraLite Journey
Justin McClure invented the UltraLite because he was tired of using lighting gear that slowed down the content creation process.
No light worked with every device.
No light was built for true portability.
No light solved the issue of blocking the hot shoe when using a DSLR.
So he made one.
He sketched the first concepts himself, tested rough prototypes, and worked through multiple engineering rounds to create a tool that finally made sense for creators. The UltraLite exists because he refused to settle for “good enough” gear- and because creators deserve an easy way to apply light to their creative process.

